Skip to content Skip to sidebar Skip to footer

Eye Wash Station Dimensions : Bradley S19 220SS Emergency Eye Face Wash Station Stainless Steel

Eye Wash Station Dimensions : Bradley S19 220SS Emergency Eye Face Wash Station Stainless Steel. With regular inspections and service, cintas offers the confidence that comes with being prepared. Eyewashes and eye/face wash stations. Flow controls within the showerhead regulate the flow rate to ensure water is available for the eye/face wash to allow for simultaneous use. High quality eye wash station that is ideal for emergency eye treatment for injuries received in the office, school, home or garden and also represents great value for money. An eye wash station in a laboratory in carrboro, north carolina.

B 29 x h 56 x d 12 cm. Eyewash station, washer and shower with foot valve and hand valve. Get free shipping on 1000's of eyewash stations and safety showers from bradley, guardian, haws, speakman, hughes, honeywell, and acorn safety. It is dust and water proof and contains 2x 500ml sterile saline eyecup bottles. *consult a medical professional to determine the appropriate personal/individual eyewash bottles can be carried by workers and provide relief in the first crucial seconds until an approved eye wash station.

Eye Wash Station Dimensions : Combined Safety Shower & Eye Wash Station - ANSI Approved : Over ...
Eye Wash Station Dimensions : Combined Safety Shower & Eye Wash Station - ANSI Approved : Over ... from www.westernsafety.com
It is dust and water proof and contains 2x 500ml sterile saline eyecup bottles. Eye wash station key features. The eyewash needs to be accessible, unobstructed and clearly marked and within 10 seconds of the threat. High quality eye wash station that is ideal for emergency eye treatment for injuries received in the office, school, home or garden and also represents great value for money. Predictable eye/face wash stream heights and laminar flow provide consistent pressure for greater user comfort. Eyewash station, washer and shower with foot valve and hand valve. An ip66 wall mount eye wash station. Over 38,500 products in stock.

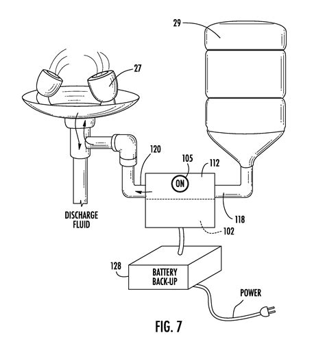
Eyewash stations are designed to flush the eye and face area only.

Order by 6 pm for same day shipping. Eye wash station dimensions / find the best eye wash stations from top brands at sears. Where chemicals and other hazardous materials are in use, the proper emergency equipment is key to minimizing workplace injuries and protecting employees. Eye wash station dimensions (l x w x h) : Eye wash stations offer fast and effective treatment for minor eye injuries in the workplace or home, meeting the guidelines given by the health. Eye wash station shall be located in an area that requires no more than 10 seconds to reach. Find eye wash stations and emergency showers for your medical facility or laboratory at webstaurantstore! Eyewash station, washer and shower with foot valve and hand valve. B 29 x h 56 x d 12 cm. Flow controls within the showerhead regulate the flow rate to ensure water is available for the eye/face wash to allow for simultaneous use. Vertical pipe 42mm, water inlet pipe 20mm. Portable eyewash station emergency eyewash emergency eyewash station portable gravity fed hand operated 16 gallon eyewash station with waste cart self contained emergency eyewash station. Boric acid eye wash, an antiseptic commonly used in commercial artificial tears and eyewash products, may be found in an emergency eye wash station.

The list of best eye wash stations. When an eye emergency happens, it's no time for hope — you have to know your eyewash stations will work. Where chemicals and other hazardous materials are in use, the proper emergency equipment is key to minimizing workplace injuries and protecting employees. Predictable eye/face wash stream heights and laminar flow provide consistent pressure for greater user comfort. They are ideal for remote areas or workspaces without convenient access to plumbing.

Eye Wash Station Dimensions / Safety Shower Enclosed Single Side Access Polypropylene 1530 50a ...
Eye Wash Station Dimensions / Safety Shower Enclosed Single Side Access Polypropylene 1530 50a ... from lh6.googleusercontent.com
B 29 x h 56 x d 12 cm. Find eye wash stations and emergency showers for your medical facility or laboratory at webstaurantstore! Speakman traditional series round bowl eyewash stations provide the highest level of performance. An ip66 wall mount eye wash station. The station has space for two bottles which open automatically when you twist them out of their brackets. Ideal station to place by all workplace acid, alkali and chemical eye hazards to ensure quick response. There are three major types of emergency wash stations They are ideal for remote areas or workspaces without convenient access to plumbing.

High quality eye wash station that is ideal for emergency eye treatment for injuries received in the office, school, home or garden and also represents great value for money.

Eyewash station, washer and shower with foot valve and hand valve. 12 locations across usa, canada and mexico for fast delivery of emergency eye. Eyewash direct is the #1 source for eye wash products and eyewash compliance information. B 29 x h 56 x d 12 cm. B 29 x h 56 x d 12 cm. An eye wash station in a laboratory in carrboro, north carolina. Get free shipping on 1000's of eyewash stations and safety showers from bradley, guardian, haws, speakman, hughes, honeywell, and acorn safety. Where chemicals and other hazardous materials are in use, the proper emergency equipment is key to minimizing workplace injuries and protecting employees. With regular inspections and service, cintas offers the confidence that comes with being prepared. Portable eyewash station emergency eyewash emergency eyewash station portable gravity fed hand operated 16 gallon eyewash station with waste cart self contained emergency eyewash station. There are loads of eye wash stations available. Ideal station to place by all workplace acid, alkali and chemical eye hazards to ensure quick response. Eye wash stations offer fast and effective treatment for minor eye injuries in the workplace or home, meeting the guidelines given by the health.

Speakman traditional series round bowl eyewash stations provide the highest level of performance. Easy to install and maintain. How to use the eye wash station. Eye wash station dimensions / find the best eye wash stations from top brands at sears. In the event of chemicals getting into the eyes, speed is of the essence.

PHYSICIANSCARE Eye Wash Station, (2) 32 oz. Bottle Size, 2 yr. Shelf Life, 14-1/2" Height, 19 ...
PHYSICIANSCARE Eye Wash Station, (2) 32 oz. Bottle Size, 2 yr. Shelf Life, 14-1/2" Height, 19 ... from static.grainger.com
There are combination units available that contain both features: The eye safety solutions do need to be replaced upon expiration, but the best units, including the guardian aquaguard below. Eye wash station dimensions (l x w x h) : The bottles are designed to allow you to rinse the eye with a good flow of liquid for around 1.5 minutes. When an eye emergency happens, it's no time for hope — you have to know your eyewash stations will work. The station has space for two bottles which open automatically when you twist them out of their brackets. 12 locations across usa, canada and mexico for fast delivery of emergency eye. Eyewash is a fluid, commonly salineus, used to physically wash the eyes in the case that they may be contaminated by foreign materials or substances.

With regular inspections and service, cintas offers the confidence that comes with being prepared.

There are three major types of emergency wash stations Foam packing ensures product is kept secure. Speakman traditional series round bowl eyewash stations provide the highest level of performance. 2 cederroth eye wash bottles, 500 ml in each 1 salvequick plaster dispenser including 40 textile and 45 plastic plasters 1 eye wash instructions 1 key station's dimensions: Eye wash stations and eye wash kits from denios help protect employee's eyes when handling hazardous materials. *consult a medical professional to determine the appropriate personal/individual eyewash bottles can be carried by workers and provide relief in the first crucial seconds until an approved eye wash station. In the event of chemicals getting into the eyes, speed is of the essence. The fact that the unit is floor mounted means that it can be installed close to especially dangerous areas of your workspace. Eye wash station, floor model, hand operated ask price. B 29 x h 56 x d 12 cm. Eye wash station dimensions (l x w x h) : Eyewash station, washer and shower with foot valve and hand valve. Eyewash stations are designed to flush the eye and face area only.

Post a Comment for "Eye Wash Station Dimensions : Bradley S19 220SS Emergency Eye Face Wash Station Stainless Steel"